• Follow Us
  • Twitter
  • Facebook
Products List
Contact Us
Tel:0573-87861981
Fax:0573-87861981
Contact:Michelle Yang
Mob:86-15861677482
Email:sales@hnsunfly.com
Add:No.2 Hedong Street, Yuanhua Town, Haining City, Zhejiang Province, China.

Products

You are here: Home > Products

Non-pressure Solar Collector

Non-pressure Solar Collector
Description:

Features:

1. Configurable non-pressurized solar heat collector to meet variety needs from customers

2. Widely used for residential buliding, commercial facility such as industrial and public facilities.

3. Capable to maintain automatic water supply, constant temperature control, over heat protection and assistant electric heating , etc.

4. Economic investment with high usability and efficiency.

5. No contamination, no pollution with safety and sanitation.

Specification:

1. Water Tank Material:

Interior ------SUS304-2B Stainless Steel

Exterior------ Galvanized Steel

2. Thermal Vacuum Collecting Tube Size: Dia58mm*1800mm/ Dia47mm*1500mm

3. Thermal Efficiency: ≥52%

4. Thermal Loss:<4%

5. Anti-freeze: -5 degree

6. Hail Resistance: 25mm

7. Life time:15 Years

Model

Absorber Area

Install Area

Packing No.

Volume

Gross Wight

Φ47×1500

2.5㎡

1100*1650

2

0.263M3

47.2㎏

Φ58×1800

3.5㎡

1400×1900

3

0.423 M3

92.0㎏

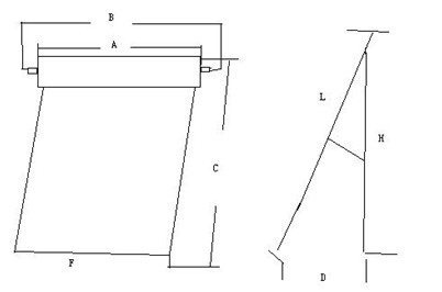
A(mm)

B(mm)

C(mm)

F(mm)

D(mm)

H(mm)

L(mm)

Φ47×1500

1665

1725

1670

1645

1100

1240

1670

Φ58×1800

1915

1975

1970

1895

1400

1440

1970